A napokban (habár csak egyetlen, bár megbízhatónak tartott forrásra alapozhattak) végigfutott a hír a játékokkal foglalkozó portálokon: a Nintendo új távirányítót fejleszt, mégpedig az amerikai futball labdájához hasonló eszközt.

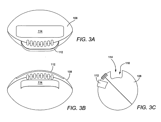
A nem mindennapi karriert befutott Wii eszköztára a Siliconera információi szerint egy új eszközzel bővül hamarosan: Howard Cheng, a Nintendo amerikai fejlesztésekért felelős alelnöke szabadalmaztatott egy, az amerikai futballban használt labdára hajazó kontrollert.

Az oldalon közreadott rajzok és leírás szerint többfunkciós eszköz lesz, ha megvalósul: lehet dobni, lehet vele futni („áttörni az ellenséges hadrenden”).

Ha máshol nem is, de az Egyesült Államokban sikerre ítélt eszköz.
