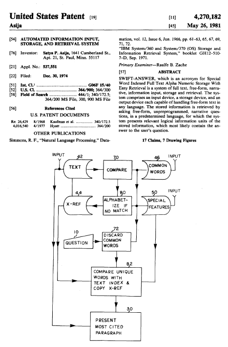
Megadják a szabadalmat Satya Pal Asija Swift-Answer névre keresztelt kérdésértelmező és válaszkereső programjára. Úgy tartják, ez volt az Egyesült Államokban az első eset, hogy egy tisztán szoftveres invenció szabadalmi oltalmat kapott. Az indiai születésű, mérnök végzettségű Asija hét évig küzdött a szabadalomért, közben elvégezte a jogi egyetemet is, hogy az ügyét képviselhesse. Öt évvel később kiadott könyvében (Hogyan védjük a számítógépes programokat?) e harc történetét írta meg.
Hirdetés

A szoftverszabadalom első oldala

Asija 1986-ban publikált könyvének címlapja (Forrás: Amazon.com)

