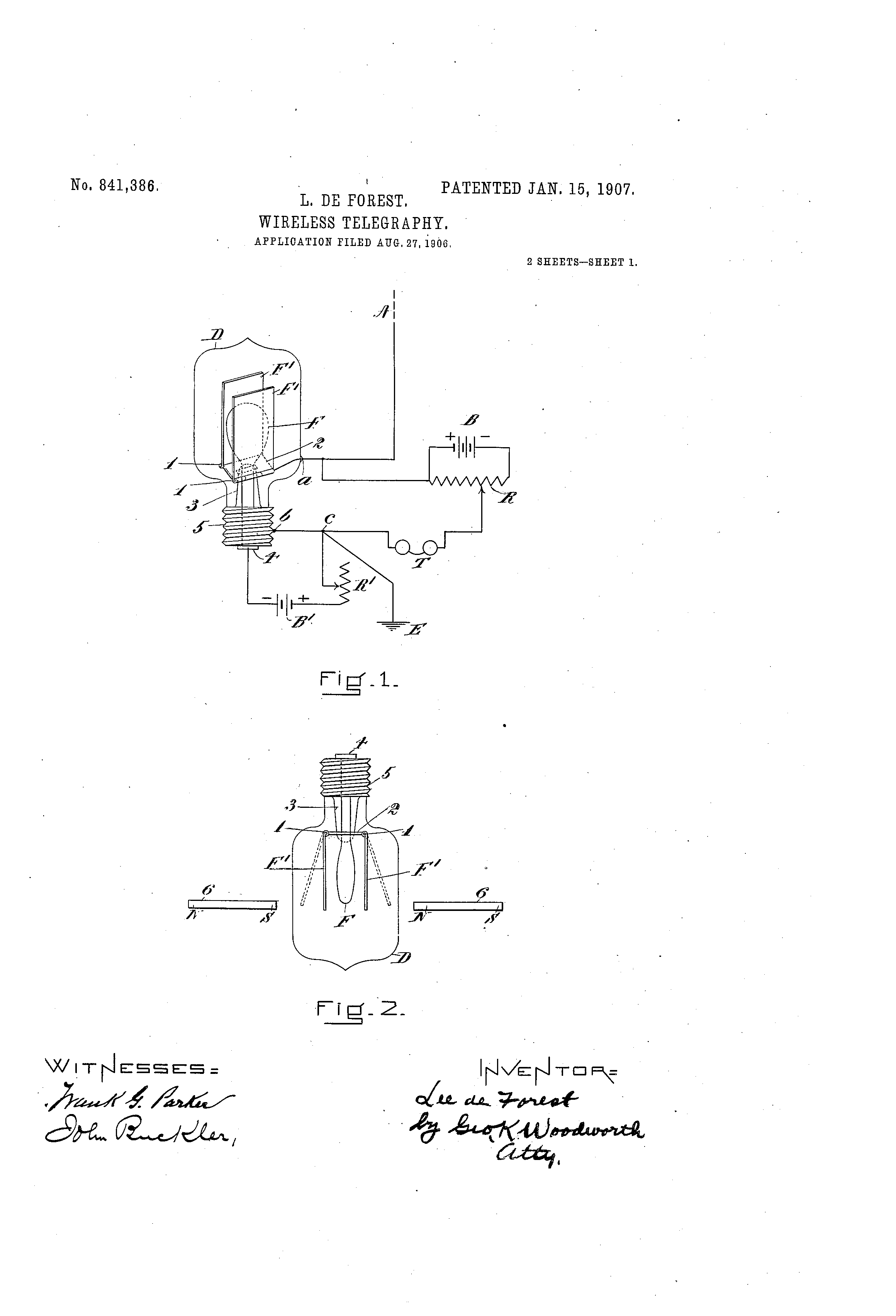
Lee de Forest amerikai feltaláló megkapja a szabadalmi védettséget az Audion csőre, a később triódának nevezett megoldás első változatára. De Forest magát „a rádió atyjának” nevezte, és nem kevés joggal, ugyanis e nélkül a főképp erősítésre használt eszköz, illetve továbbfejlesztett változatai nélkül elképzelhetetlen lett volna a modern rádiózás kialakulása.
Hirdetés

Forrás: USPTO

