A Disney a múlt hónap közepén szabadalmi védettséget kapott egy lábfelismerési technológiára, melyet a vállalat szórakoztató parkjaiban, illetve sporteseményeken, rendezvényeken kívánnak alkalmazni, hogy még kellemesebb élményt kínálhassanak a látogatóknak.
Hirdetés
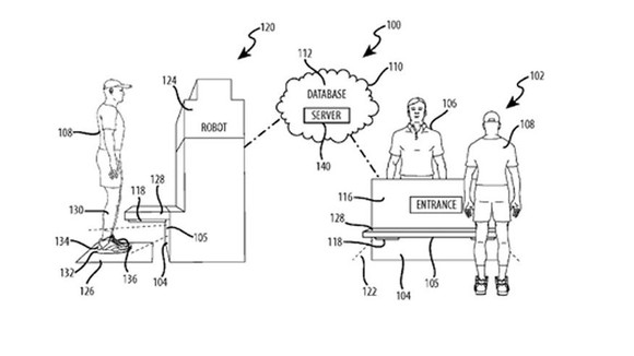
A leírás szerint a technológia egyik lehetséges felhasználási módja, hogy egy szenzor és egy kamera segítségével rögzítik a vendég lábának körvonalait, illetve a teljes megjelenését, ezek alapján készítenek egy modellt, majd a látogatót ez alapján azonosítják. Arra is alkalmazható, hogy egyes helyszíneken a látogató bejelentkezzen, és ott egy robot adminisztrátorral kapcsolatba lépjen, sőt azt is elképzelhetőnek tartják, hogy ha ez a robot mozgásképes, akkor kísérje és tájékoztassa a vendéget.
A fejlesztés motivációja az, hogy a lábfelismeréses azonosítás „kevésbé invazív”, mint pl. a retina vagy az ujjlenyomat alapján történő, ugyanis az utóbbiakat sok ember ellenzi, túl agresszívnak tartják, és ezeket a biometrikus adatokat nem szívesen adják meg harmadik feleknek.
A Disney nem tervezi a technológia közeljövőben történő bevezetését, a lábfelismerés csak egy része egy nagyobb fejlesztési projektnek.
