A Canon új szabadalmat jegyeztetett be az Amerikai Találmányi Hivatalban. A napjainkban egyre nagyobb figyelmet kapó szerzői jogok védelme érdekében újabb és újabb eljárások születnek, például az elektronikus vízjel. A helyzet égetőbb, mint valaha, hiszen gombamód szaporodnak a képeink feltöltését, mások albumjainak böngészését lehetővé tevő site-ok. Ez a tény önmagában még nem jelentene gondot, de a „fényképpiac” jellegű oldalak, mint páldául az iStockphoto olyan szolgáltatást kínálnak, mely bevételt jelenthet amatőr (nem hivatásos) fotósoknak is, akik nem óhajtanak kiadókkal, hírügynökségekkel, marketingcégekkel és sajtóorgánumokkal leszerződni, mégis szeretnének egy kis pénzhez jutni munkáik áruba bocsátásával. Az emberi kapzsiság természetesen itt is megnyilvánul, és sokan a szerzői jogokra fittyet hányva mások által készített művekkel „kereskednek” úgy, hogy a szerző a bevételekből egyáltalán nem részesül, sőt, szinte kivétel nélkül tudomást sem szereznek arról, hogy jogaik csorbultak.
Hirdetés
A Canon az ilyen, és ehhez hasonló helyzetek megoldását új technológia bevezetésében látja. A cég által szabadalmaztatott eljárással a készítés pillanatában - vagy egy későbbi időpontban - lehet a felhasználó biológiai adatait az információs listához fűzni, így hozva létre egy egyedi azonosítóval ellátott fényképet.
Mit is jelent ez pontosan? A gép a fotós íriszét szkenneli be. Ehhez elég a módválasztó tárcsát REG módba csavarni és belenézni a keresőbe, majd lenyomni az exponálót. Egyelőre öt felhasználót lenne képes megkülönböztetni/eltárolni a rendszer. Miután megtörtént szemünk leolvasása két lehetőség lesz: a gép minden fotó metaadatában azonnal eltárolja szemlenyomatunkat, vagy egy későbbi időpontban végeztethetjük el vele ezt a műveletet.
Miért van szükség a késleltetett rekordra? A képlet egyszerű: minél több adatot kell a képfeldolgozó egységnek feldolgoznia és kiírnia pufferbe, majd a memóriakártyára, annál kevesebb kép készíthető másodpercenként, ezért a kártya kivitele előtt, vagy a gép kikapcsolásakor is csatolhatók kötegelten az információk.
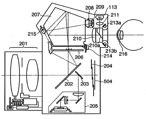
Hogy is működik?

A sematikus ábrán látható, hogy a mérnökök plusz egy tükröt helyeztek a kereső mögé. Két infravörös fényt kibocsátó dióda (213A, 213B) világítja meg az íriszt, majd a fent említett tükör a visszaverődő sugarakat előbb egy gyűjtőlencsébe, majd egy külön érzékelőbe továbbítja. Ez szkenneli be a szem információit, és továbbítja a feldolgozó áramköröknek. A keresőben egyéb beállítások(érzékenység, blendenyílás, stb) mellet megjelenik a „REG-1”, „REG-2”, stb felirat is attól függően, hogy éppen melyik felhasználó aktív. Sok készülék esetén azonban az LCD kijelzőn is látható az élőkép, ilyenkor a gép a kötegelt adatkiírást alkalmazza, hiszen nem kap információt a fotósról, csak azt, ami előzőleg lett beállítva.
Kétségek…
Egyelőre még távol áll a találmány attól, hogy a közeljövőben lépten-nyomon kompaktokban, bridge-ekben, dSLR-ekben felbukkanjon. Valószínűleg elsősorban professzionális felhasználók fogják előszeretettel használni az új, szerzői jogok védelmét szolgáló funkciót és nem a hétköznapi, magánfelhasználók.
Az írisztérkép sokkal több adatot tartalmaz, mint az ujjlenyomat, így tényleg szinte garantált a rendszer egyedisége. A hackereknek viszont soha nem jelentett problémát kódokat, programokat, fileokat feltörni, a bennük levő tartalmat hamisítani, így az exif információk sincsenek biztonságban. Reméljük a Canon programozói találtak megoldást eme gyenge pont kiküszöbölésére.
Az eljárás ebben a formájában visszaélésekre is adhat alkalmat, hiszen megvan a lehetőség arra, hogy más elektronikus védjegyével törvényellenes (például pedofil) anyagok készüljenek. Azért persze reméljük a legjobbakat, és bár kicsit félve, mégis reménykedve tekintünk a jövőbe, ahol még a fényképezőgépünk is azt ellenőrzi, vajon valóban „mi vagyunk-e”…
